F00-F99
Ⅴ. 정신 및 행동 장애
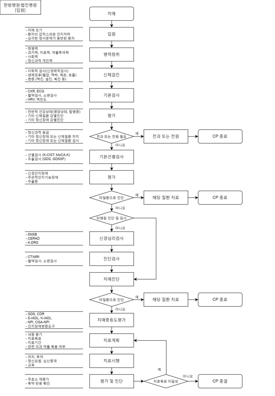
치매 협진병원용 한의표준임상경로
[ 대표코드 : F00, F06.7 / 추가코드 : F01 ]
[ 대표코드 : F00, F06.7 / 추가코드 : F01 ]

치매 협진병원용 Time-task matrix
[ 대표코드 : F00, F06.7 / 추가코드 : F01 ]
[ 대표코드 : F00, F06.7 / 추가코드 : F01 ]



홈
협진정보
협진표준임상경로



